SYSTEM 70

1968 började polisen bygga upp det nationella radiosystemet S70. Detta system använde det så kallade Civilförsvarsbandet inom 78-79 MHz.
Polisen delade frekvenserna med brandkår, ambulans, kustbevakning, tull, taxi samt andra samhällsviktiga funktioner. 
System 70 var ett manöversystem, som hade till uppgift att styra sändare och mottagare från en manöverplats 
skild från radioplatsen. Systemet hade också möjlighet att sammankopplas med det publika telefonnätet så
att antingen manuellt eller automatiskt kopplade samtal kunde förmedlas.

Då det ansågs att systemet var för omfattande för endast ett företag, så fick både Svenska Radioaktiebolaget
SRA och Standard Radio SRT dela på uppdraget att leverera komponenterna i System 70.
För de fast anläggningarna hade man utvecklat basradio FN202. Mobilt valde man att presentera en lösning
där man använde en radio som tidigare utvecklats för Civilförsvaret, modell R70.
Denna utrustning kunde drivas på 12 volt och placerades i bagageutrymmet på polisbilarna.
För bärbart bruk använde man samma typ av radio som Civilförsvarets typ B70.
I början hade polisen standard B70 i orange färg, samma som Civilförsvaret.
Polisens egna utförande av B70 kom att heta modell PN72 och var målade med grå hammarlack.

********************************************************************************************************************************

Maj 2020 - S70 i drift!

Äntligen har jag lyckats få ihop rätt komponenter, så nu är S70 igång med Reservbas och mobil enhet.
"Treklangen" hörs åter igen!
En kort filmsnutt finns under valet BILD & VIDEO ovan.
********************************************************************************************************************************

I radiosystem S70 användes ett nytt tonselektivsystem som utvecklats av SRA. Tonsystemet byggde på
3-ställiga dubbeltoner och administrerades från RAXAPP.
Tonsystemet möjliggjorde sändning av larm- , grupp- , och riktade anrop. Systemet var uppbyggt kring
1000 tresiffriga nummer där en siffra i taget sändes. Varje siffra gjordes dessförinnan om till två av de
fem toner som fanns. Tonkodens längd var 800ms.
De ingående delarna visas i blockschemat nedan



Systemupplägget var följande

Anropskod     Funktion
 000               Avringning (ger svarston med 00 från basstation)
 001               Gruppanrop till fordon inom Övervakning (ÖVS)
 004               Gruppanrop Körcentral (KC) civil, krim. eller SÄPO
 006               Gruppanrop Trafiksektionen (TS)
 007               Gruppanrop Länstrafikgruppen (LTG)
 008               Gruppanrop Rikskrim. (RPS)
 009               Larmanrop till fordon
 010-098        Riktade anrop till basstationer
 099               Larmanrop till basstationer
 100-999        Riktade anrop till fordon

Siffra      Tonfrekvenser
 0             914/1170 Hz 
 1             713/1170
 2             713/914
 3             558/1170
 4             558/914
 5             558/713
 6             435/1170
 7             435/914
 8             435/713
 9             435/558


Ljudexempel på anrop (siffrorna 042)


Ljudklipp från ca 1977 - Ett efterföljande av en Volvo Duett från Landskrona in i Malmö



FREKVENSER

Som tidigare nämnts så användes 78-79MHz bandet för att tilldela frekvenser för polis, ambulans och brandkår.
Polisen använde 79MHz, ambulans och brandkår samsades på 78MHz enligt tabellen nedan





KONCEPT BASRADIO

Från två manöverapparater RAXAPP och BIMAP sammanfördes de olika informationer, som skulle
styra radioutrustningen, till en terminalutrustning ENDEX och omformades till fjärrmanöversignaler, som
var lämpade för överföring på telefonlinje. Överföringen var dubbelriktad med separat telefonlinje för
respektive riktning, d.v.s. två telefonlinjer.
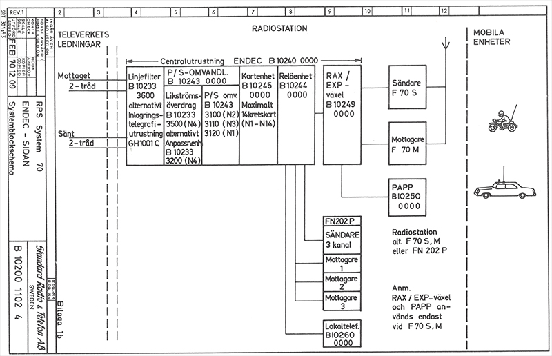
På radiostationssidan omvandlades fjärrmanöversignalerna i en terminalutrustning ENDEC till
informationer som direkt påverkade både sändare och mottagare. Utöver detta fanns en tjänsteförbindelse
mellan manöverplatsen och radiostationsplatsen.
Manöversystemet hade möjlighet att fjärrmanövrera tre sändtagare, dock endast en i taget.
Passning kunde ske oberoende på tre mottagare. Detta rekommenderades bara då en expeditör
betjänade RAXAPP.
En del av de kommande texterna och bilderna är hämtade från dokumentet Teknisk beskrivning System 70.

Nedan ses blockschemor som visar enheter som ingick i en Basradioenhet för ENDEX respektive ENDEC






RAXAPP var huvudmanöverapparat för RPS system 70. Från RAXAPP kan radioutrustningens sändare och
mottagare manövreras. Dessutom kunde tjänsteförbindelse kopplas upp till radiostationssidans PAPP
eller till LOKALTELEFON. Även riktat anrop styrdes från RAXAPP.
Genom RAXAPP kunde också radiotrafik förmedlas till bimanöverenheten BIMAPP. Även inkoppling till
allmänna telefonnätet kunde göras. RAXAPP betjänades av en radioexpeditör benämnd RAX.



och en bild som visar insidan




BIMAPP var en förenklad manöverapparat, som kunde användas för trafik på två kanaler (RIKS och LOKAL).
Enheten var försedd med inbyggd högtalare, mikrofon och S/M-tangent.



och insidan




ENDEX-stativet var radioexpeditionens teminalutrustning. Där fanns sammankopplingen mellan de båda
manöverapparaterna (RAXAPP och BIMAP), omvandling av order och LF till radioutrustningen för
dataöverföring på telefonlinje, omvandling av datasignaler från radioutrustningen till order och LF för
manöverapparaterna, inkoppling av det allmänna telefonnätet till systemet, inkoppling av
registreringsapparatur (bandspelare) för inspelning av in- och utgående radiotrafik m.m.
Själva stativet innehöll elektriskt sätt bara den kabling, som förbinder de olika ingående enheterna.




ENDEX-stativet var enkelt uppbyggt av en rektangulärt bockad U-profil, som försetts med fastsvetsade tvärstag
(L-profiler). Dessa användes för infästning av de i stativet ingående enheterna.
Själva U-profilen var i övre delen försedd med fastnitade mutterstycken för fastsättning av anslutningspanel
och nätspänningsomvandlare.
För elektrisk anslutning fanns en kabelstam på vänster sida med fem stifttag på stativets övre vänstra front
och sex hylsproppar på olika höjd i stativets vänstra del för inkoppling av underenheter.
Nedan sett bakifrån




Det fanns två s.k. P/S-omvandlare i systemet, en i ENDEX och en i ENDEC.
P/S-omvandlaren hade till uppgift att möjliggöra överföring av ett antal informationer om ett av två
tillstånd (till- eller frånslag) i riktningar med hjälp av ett telefonledningspar för varje riktning.
För att åstadkomma detta användes ett tidsmultiplexförfarande. Orderna, som förekom parallellt
i tiden, omvandlades på sändarsidan till serieform, där varje enskild information (order) upptog en
bestämd del av överföringscykeln.
På mottagarsidan återställdes informationen till order, som avlästes i serie. Systemet var i varje
riktning en elektronisk motsvarighet till två synkront roterande omkopplare, vars rörliga kontakter
var förbundna med varandra. Varje fast kontakt på den ena omkopplaren är under en kort tid
förbunden med motsvarande kontakt på den andra och förloppet upprepas efter ett varv.
Varje terminal hade anordning för sändning, mottaging och synkronisering. De två sidorna kallades
ENDEX och ENDEC. Data från och till P/S-omvandlaren kunde i princip överföras på två sätt över
telefonledningen. I ena fallet gjordes överföringen med dubbelström genom likströmsöverdrag
och linjefilter och i andra fallet med frekvensskift anpassningsenhet och inlagringtelegrafiutrustning.
I båda fallen överfördes samtidigt tal på ledningen.
Nedan P/S-omvandlare ENDEX med anpassningsenhet




LINJEFILTRETS sändardel hade till uppgift att anpassa utgående datameddelande så att det
uppfyllde kraven för överföring på hyrd telefonledning. Dessutom skulle sändardelen sammanlagra
LF- och datainformation.




RELÄENHETen hade till uppgift att koppla de order som mottogs eller sändes, så att de för
verkställandet erforderliga funktionerna erhölls på lämpligt sätt och i rätt ögonblick.
Förutom order kopplas även LF.
(Man hade förmåga att uttrycka sig tydligt på tidigt 70-tal!)




KORTENHETen innehöll åtta kretskort utan samhörande funktioner. Enhetens uppgift var att
elektriskt ansluta dessa kretskort till ENDEX/ENDEC-stativets kabling.
Kortenhet ENDEX innehöll följande kretskort
- Reglerenhet
- Ringspänningsgenerator m.m.
- Sändarlogik
- Tonsändare
- Diodmatris
- 2 st Linjeförstärkare
- AVK-förstärkare




PAPP som var placerad i anslutning till CF EXP (radioexpeditör i sambandscentral), användes
för övervakning av trafik till/från RAX. PAPP styrde även prioritering av radioutrustning, så att antingen
RPS RAX eller CF EXP hade prioritet eller också att den som kom först disponerade utrustningen.
Om EXP hade prioritet och RAX gjorde anrop tändes en lampa märkt RAX VÄNTAR.
PAPP styrde också avveckling av tjänstesamtal till/från RAX




LOKALTELEFON, som är en enklare variant än PAPP, användes för avveckling av tjänstesamtal
till/från RAX, när en annan radioutrustning än CF70 användes. Apparaten var placerad i anslutning
till radioutrustningen.




FN202 sändtagare fanns i olika versioner. Den tidiga varianten var i form och storlek lik
ENDEX/ENDEC utrustningen. Nedan ses en standard FN202




Nedan en rackmonterad version avsedd för S70 basstation med två mottagare. Den nedre
mottagaren konfigurerad som larmmottagare för Postverket på kanal 00.






Reservbas
På en del stationer förekom senare även en bordsmodell bestående av en mobil manöver- och radioenhet.
Denna manöverenhet var dock modifierad med ytterligare ett tumhjul.
Detta behövdes för att man utöver de fasta basstationerna även skulle kunna anropa valfri radiopatrull




Basstationsplats
Alla stationsplatser dokumenterades noggrant. All utrustning fanns dokumenterad tillsammans med mätprotokoll.
Fotodokumentation omfattade utsida såväl som indsida och antenner. Även räckviddskarta fanns över de olika stationsplatserna.
Nedan ett exempel från en S70-installation i ett vattentorn.





MOBIL RADIO

Under 70-talet gjordes bl.a. ett företagsförvärv där SRA köpte upp Sonab Communication AB, som i sin
tur tidigare gått samman med AGAs radioverksamhet. Detta fick till följd att den mobila utrustningen blev lite
annorlunda konfigurerad under 70-talet.
Man startade med SRA typ R70 som sändare och mottagare. Under en av framstolarna placerades en
tonenhet för det nyutvecklade S70 tonsystemet och allt kontrollerades från en SRA manöverenhet, MOBAPP.
Över tiden byttes R70 enheten ut mot en AGA RU radio.
Här ses två bilder som beskriver hur konfigurationen skulle monteras i en Volvo 144 Polisbil






SRA R70, en tämligen vanlig station som finns i stort antal då den användes flitigt inom Civilförsvaret




AGA RU-07 ersatte senare R70




Tonenhet och anslutningsbox för R70, som är sällsynt idag (kontakta mig om ni har en!)


Foto: okänt


MOBAPP Manöverenheten som utvecklats av SRA särskilt för System 70




Det fanns en hemlig specialvariant av mobil manöverapparat som benämndes Bi-Mob-App
Denna enhet placerades i bilar i grupp 004, d.v.s. civil, krim. och SÄK.
Enheten hade vissa delar av den funktionalitet som fanns i Mob-App.
Bi-Mob-App anslöts till Mob-App som i denna konfiguration gömdes i handsfacket.




Foto: Okänt



BÄRBAR RADIO

Den första versionen av bärbar utrustning som levererades till RPS av SRA var modellen PN72.
Samma modell användes även av Civilförsvaret (orange färg) och hade då beteckningen B70.
Den orange modellen lånades först in från civilförsvaret och ersattes senare med den blå versionen
avsedd för RPS.
Dessa radio var inte utrustade med tonselektivet som utvecklats för bas- och mobilradio,
istället användes enkelton på 2100Hz.

B70


PN72


Under senare delen av 70-talet ersattes ovan av den nyutvecklade PN82 modellen.
Denna radio var betydligt mer anpassad för ändamålet både i funktion och uppbyggnad.
Fanns även i en version för 168MHz som användes av Tunnelbanepolisen i Stockholm.
Nedan ses radion med antennen insydd i bärremmen.

PN82




MC

De första installationerna av S70 för MC bestod av radioenheten SRA CN402.



Manöverenheten var inbyggd i tanken.


Foto: okänt

I den vänstra packväskan (plåtlåda) placerades radioenheten och tonenheten


Foto: okänt

Runt 1986 började man montera en speciell manöverenhet enligt bilden nedan.
Radioenheten blev här C602. Denna radio använde dock CCIR signalering och kunde därför endast
användas inom de distrikt där man kompletterat Ledningscentralens radioutrustning med CCIR utbyggnad.
När S70M senare infördes och nya motorcyklar införskaffades byggdes denna manöverenhet om.
Den delades upp i en displayenhet och en knappsats som placerades på styret.
En C602 + P302 placerades i den vänstra packväskan. 


Foto: okänt



KRYPTERING

Företaget Transvertex fick i uppdrag att utveckla en krypteringsenhet som skulle användas
tillsammans med befintligt radiosystem. Denna utrustning, modell SR22, användes av polisen
under en tid. Den var dock inte så populär då det visade sig att den var känslig för störningar.
Utrustningen blev installerad på över 200 lokala basstationer innan den övergavs.
Även Säkerhetspolisen använde denna utrustning.
Krypteringsapparaten omvandlar talet till ett digitalt pulståg och adderar därefter en
överlagringsserie som hos mottagaren används för att förvandla kommunikationen till vanligt tal igen.
Vid sändning hördes bara brus i en vanlig radiomottagare. Motstationen behövde naturligtvis ha exakt
samma kodnyckel inställd för att meddelandet skulle kunna avlyssnas.
Luckan till kryptoenheten var normalt låst för att konstaplarna inte skulle kunna ändra inställningen.


Foto: J Ahlberg

En särskild manöverapparat användes i kryptosystemet. Här fanns möjlighet att styra in- och
urkoppling av kryptering samt en utökad styrning av tonsystemet.
Kodpluggen hade tagits bort och ersatts med ett femte tumhjul.


Foto: J Ahlberg

En flyttbar utrustning fanns för särskilda uppdrag. Denna väska är komplett med AGA RU station,
nätaggregat, manöverapparat samt Transvertex kryptoenhet


Foto: J Ahlberg

Se även dokumentet "Från visselpipa till digitalradio 60 år av teknikutveckling" på Startsidan



LARMRADIO S70

Det fanns ytterligare en funktion i S70 basradiosystemet som benämndes Larmradio.
Postverket hade radioutrustning för att kunna skicka direktlarm till Polisen.
Den bestod av en mindre radioutrustad väska samt en magnetantenn för montering på fordon.
Väskan medfördes vid värdetransporter och dylikt.
Tonmottagarkort för 2100Hz i ENDEC terminalutrustningen byttes till en ny variant från Storno som kompletterats
med ytterligare 3 tonmottagare.
Följande enkeltoner användes inom Larmradio;
2600Hz - Postens talanrop
2000Hz - Postens provanrop
1830Hz - Postens larmanrop
Vid radioexpeditionen användes RAXAPP tillsammans med Manöverpanel för Identifieringsutrustning (MI) för
att anropa Postens enheter




Nedan en bild av Postlarmsenheten monterad i en panel på Kommunikationscentralen.



Vid anrop från bil syntes anropandes stations nummer i MI enhetens display "Identifieringskod" samtidigt som
indikeringen "RES" blinkade på RAXAPP och lystringston hördes 3 gånger.
Operatören tryckte på "RES" och samtal kunde därefter utvecklas.
Nedkoppling skedde genom att trycka "Återställning" på MI enheten och "Åter" på RAXAPP.